|
1. Idee / Wünsche |
|
Meine Idee ist es eine Temperaturschwankung in ein Spannungssignal umzuwandeln und dieses Spannungssignal digital (8Bit) auszugeben. Dieses Signal sollte dann vom Computer weiter verarbeitet werden. Kurz gesagt: Ein Thermometer, dass man an den PC anschließen kann.
2. Überlegung / Alternativen
Das Temperatursignal wird wird von einem KTY 81-210 auf die
Spannung aufmoduliert. Es wird dann von einem LM741 um den Faktor 47
verstärkt.
Alternative: Man könnte einen größeren Verstärkungsfaktor wählen, um eine
genauere Messung zu bekommen.
Diese Alternative haben wir nicht gewählt. Dies hat hauptsächlich den höheren Preis der genaueren
Bauteile zu grunde.
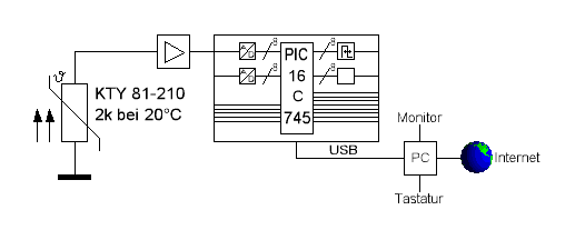
4. Blockschaltbild

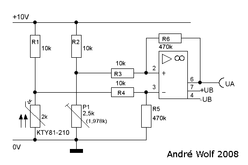
5. Schaltbild
Die Widerstände R1, R2, das Poti P1 und der KTY 81-210 dienen jeweils als Spannungsteiler für die beiden Eingänge des OP’s. Wenn sich die Temperatur ändert, wird der Widerstand des KTY 81-210 größer oder kleiner und die Spannung am Pin 3 entgegengesetzt zum Widerstand des KTY 81-210 größer oder kleiner. Mit dem Poti P1 wird die Spannung am zweiten Eingang geregelt. Das Verhältnis zwischen R7/R6 und R4/R5 bestimmt den Verstärkungsfaktor.
6. Messungen
Am Anfang führten wir die Messung erst einmal ohne den LMC6484 durch, um zu schauen ob die Schaltung grundsätzlich funktioniert. Nach Bestehen dieser Überprüfung setzten wir den Operationsverstärker wieder ein und es wurde erneut gemessen.
7. Begründung, Erklärung, Abgleichanweisung
Nun geht es darum die Schaltung auf die richtige Temperatur zu justieren. Dazu benutzen wir ein seperates Thermometer, dass auf Raumtemperatur gebracht wird. Daraufhin gliechen wir mit Hilfe des Potentiometers P1 die Schaltung auf die richtige Temperatur ab.
8. Digitalisierung
Für die Digitalisierung benutzen wir das USB Experiment Interface Board K8055 der Firma Velleman. Auf diesem Board sind schon die nötigen Komponeten für die Analog-Digital-Wandlung vorhanden, sodass wir nur noch die mitgelieferte Software für die Abfrage über USB an unsere Bedürfnisse anpassen müssen.
9. Layout
| |
|
| Layout mit Bestückung | ohne Bestückung |
Das Layout gibt es hier. (Sprint-Layout 4.0)
9.1 Bestell- und Bestückungliste
Die Bestell- und Bestückungsliste mit den Preisen von Conrad und Reichelt findet ihr hier.
10.Software
...
10.1 fertige Software
...
11. Steuerung mit PHP, Datenbank M,SQL
...
© André Wolf 2008