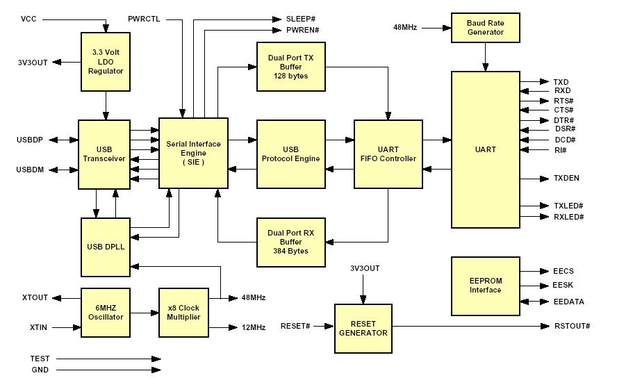
Blockschaltbild






zum Anfang

Home